Кронштейн для крепления наружного блока кондиционера
Самый популярный способ установки внешнего блока кондиционера — закрепление на фасаде здания. Для этого необходим надежный прочный кронштейн. Его изготавливают из высококачественной стали толщиной от 1,5 мм и более в зависимости от веса блока. Чем он тяжелее, тем больше кронштейн и толще материал.
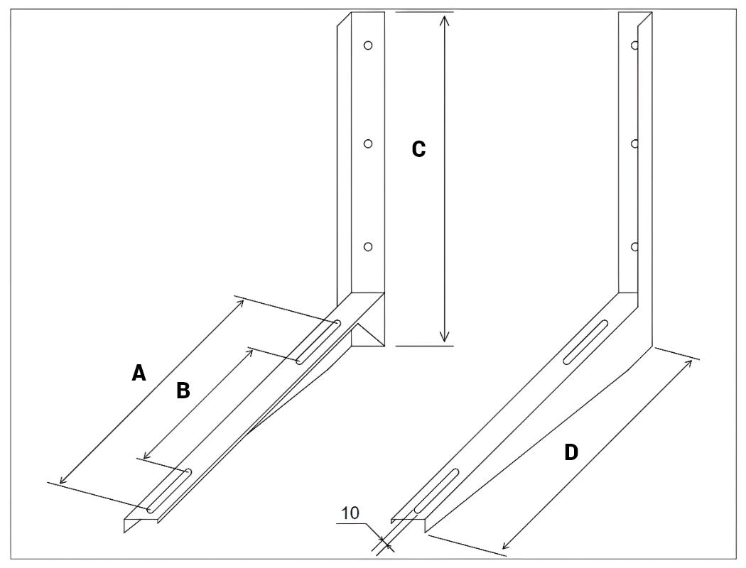
В маркировке размера первая цифра обозначает длину вертикальной планки, которая крепится к стене, а вторая — горизонтальной планки, на которой фиксируется внешний блок. Есть несколько стандартных длин нижней планки: 450 мм, 500 мм, 600 мм, 900 мм и 1000 мм. Как правило, этого достаточно для установки бытовых и полупромышленных кондиционеров.
Кронштейн окрашен порошковой краской на полиэфирной основе, которая защищает металл от осадков и различных негативных факторов окружающей среды, предотвращая появление коррозии и сохраняя аккуратный внешний вид.
Критерии выбора
Для правильного выбора подходящего кронштейна для монтажа ориентируйтесь на два параметра:
- Кронштейн должен подходить под вес внешнего блока. При этом необходимо учитывать, что вес может увеличиться от снега и обледенения.
- Отверстия на нижней планке должны соответствовать крепежным элементам на кондиционере. Пересверливать крепления и отверстия ни в коем случае нельзя, это значительно ослабит конструкцию и может привести к обрыву или перекосу блока.
















